Airbags are an incredibly important piece of automotive safety gear. They’re also terrifying—given that they’re effectively small pyrotechnic devices that are aimed directly at your face and chest. Myths have pervaded that they “kill more people than they save,” in part due a hilarious episode of The Simpsons. Despite this, they’re credited with saving tens of thousands of lives over the years by cushioning fleshy human bodies from heavy impacts and harsh decelerations.
While an airbag is generally there to help you, it can also hurt you in regular operation. The immense sound pressure generated when an airbag fires is not exactly friendly to your ears. However, engineers at Mercedes-Benz have found a neat workaround to protect your hearing from the explosive report of these safety devices. It’s a nifty hack that takes advantage of an existing feature of the human body. Let’s explore how air bags work, why they’re so darn loud, and how that can be mitigated in the event of a crash.
A Lot Of Hot Air

Once an obscure feature only found in luxury vehicles, airbags became common safety equipment in many cars and trucks by the mid-1990s. Indeed, a particular turning point was when they became mandatory in vehicles sold in the US market from late 1998 onwards, which made them near-universal equipment in many other markets worldwide. Despite their relatively recent mainstream acceptance, the concept of the airbag actually dates back a lot farther.
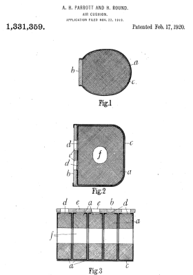
The basic invention of the airbag is typically credited to two English dentists—Harold Round and Arthur Parrott—who submitted a patent for the concept all the way back in 1919. The patent regarded the concept of creating an air cushion to protect occupants in aircraft during serious impacts. Specific attention was given to the fact that the air cushion should “yield readily without developing the power to rebound,” which could cause further injury. This was achieved by giving the device air outlet passages that would vent as a person impacted the device, which would allow the cushion to absorb the hit gently while reducing the chance of injury.
The concept only later became applicable to automobiles when Walter Linderer filed for a German patent in 1951, and John W. Hetrick filed for a US patent in 1952. Both engineers devised airbags that were based on the release of compressed air, triggered either by human intervention or automated mechanical means. These concepts proved ultimately infeasible, as compressed air could not be feasibly be released to inflate an airbag quickly enough to be protective in an automobile crash.
It would only be later in the 1960s that workable versions using explosive or pyrotechnic inflation came to the fore. The concept was simple—use a chemical reaction to generate a great deal of gas near-instantaneously, inflating the airbag fractions of a second before vehicle occupants come into contact with the device. The airbags are fitted with vents that only allow the gas to escape slowly. This means that as a person hits the airbag, they are gently decelerated as their impact pushes the gas out of the restrictive vents. This helps reduce injuries that would typically be incurred if the occupants instead hit interior parts of the car without any protection at all.

The Big Bang
The use of pyrotechnic gas generators to inflate airbags was the leap forward that made airbags practical and effective for use in automobiles. However, as you might imagine, releasing a massive burst of gas in under 50 milliseconds does create a rather large pressure wave—which we experience as an incredibly loud sound. If you ever seen airbags detonated outside of a vehicle, you’ve probably noticed they sound rather akin to fireworks or a gun going off. Indeed, the sound of an airbag can exceed 160 decibels (dB)—more than enough to cause instant damage to the ear. Noise generated in a vehicle impact is often incredibly loud, too, or course. Ultimately, this isn’t great for the occupants of the vehicle, particularly their hearing. Ultimately, an airbag deployment is a carefully considered trade-off—the general consensus is that impact protection in a serious crash is preferable, even if your ears are worse for wear afterwards.
However, there is a technique that can mitigate this problem. In particular, Mercedes-Benz developed a system to protect the hearing of vehicle occupants in the event that the airbags are fired. The trick is in using the body’s own reactions to sound to reduce damage to the ear from excessive sound pressure levels.

The stapedius reflex (also known as the acoustic reflex) is one of the body’s involuntary, instantaneous movements in response to an external stimulus—in this case, certain sound levels. When a given sound stimulus occurs to either ear, muscles inside both ears contract, most specifically the stapedius muscle in humans. When the muscle contracts, it has a stiffening effect on the ossicular chain—the three tiny bones that connect the ear drum to the cochlea in the inner ear. Under this condition, less vibrational energy is transferred, reducing damage to the cochlea from excessive sound levels.
The threshold at which the reflex is triggered is usually 10 to 20 dB lower than the point at which the individual feels discomfort; typical levels are from around 70 to 100 dB. When triggered by particularly loud sounds of 20 dB above the trigger threshold, the muscle contraction is enough to reduce the sound level at the cochlea by a full 15 dB. Notably, the reflex is also triggered by vocalization—reducing transmission through to the inner ear when one begins to speak.
Mercedes-Benz engineers realized that the stapedius reflex could be pre-emptively triggered ahead of firing the airbags, in order to provide a protective effect for the ears. To this end, the company developed the PRE-SAFE Sound system. When the vehicle’s airbag control unit detects a collision, it triggers the vehicle’s sound system to play a short-duration pink noise signal at a level of 80 dB. This is intended to be loud enough to trigger the stapedius reflex without in itself doing damage to the ears. Typically, it takes higher sound levels closer to 100 dB to reliably trigger the reflex in a wide range of people, but Mercedes-Benz engineers realized that the wide-spread frequency content of pink noise enable the reflex to be switched on at a much lower, and safer, sound level. With the reflex turned on, when the airbags do fire a fraction of a second later, less energy from the intense pressure spike will be transferred to the inner ear, protecting the delicate structures that provide the sense of hearing.
Mercedes-Benz first released the technology in production models almost a decade ago.
The stapedius reflex does have some limitations. It can be triggered with a latency of just 10 milliseconds, however, it can take up to 100 milliseconds for the muscle in the ear to reach full tension, conferring the full protective effect. This limits the ability of the reflex to protect against short, intense noises. However, given the Mercedes-Benz system triggers the sound before airbag inflation where possible, this helps the muscles engage prior to the peak sound level being reached. The protective effect of the stapedius reflex also only lasts for a few seconds, with the muscle contraction unable to be maintained beyond this point. However, in a vehicle impact scenario, the airbags typically all fire very quickly, usually well within a second, negating this issue.
Mercedes-Benz was working on the technology from at least the early 2010s, having run human trials to trigger the stapedius reflex with pink noise in 2011. It deployed the technology on its production vehicles almost a decade ago, first offering PRE-SAFE Sound on E-Class models for the 2017 model year. Despite the simple nature of the technology, few to no other automakers have publicly reported implementing the technique.
Car crashes are, thankfully, rather rare. Few of us are actually in an automobile accident in any given year, even less in ones serious enough to cause an airbag deployment. However, if you are unlucky enough to be in a severe collision, and you’re riding in a modern Mercedes-Benz, your ears will likely thank you for the added protection, just as your body will be grateful for the cushioning of the airbags themselves.

Ultimately I understand what they’ve done. Ultimately.
They Ultimately come out at night – Ultimately
All hail “mandatory”…while it lasts.
Does this mean blasting IDM with lots of noise bursts at deafening volumes can ironically save your ears when you get into a crash?
This trick was used in soviet made tanks decades ago – so why not?
Is the stapedius the thing that causes that weird rumble that happens if you tense something in your ear?
It’s probably the Tensor Tympani, a different muscle in the ear that also helps to attenuates sound.
Yes, it’s the stapedius reflex.
Give it a few years/hours and we’ll have silent crashes.
I thought the same exact thing. Why hire writers who just use ai to do their writing?
Because humans are never long winded nor do they ever ramble. Nope.
I’m pretty sure this is written directly by a human, just a human with a very verbose writing style. It’s too coherent to be AI, usually the extra fluff AI adds is completely meaningless drivel where this is just verbose
Smells to me like it was written by an engineer type who struggles to determine what to leave out. (Just speaking from the experience of a friend. Yeah, that’s the ticket. A friend.)
🫂 solidarity from a documentation writer who’s regularly asked to pare it down.
So, any bets on how long before this becomes a monthly fee to use?
I guess Tesla could potentially implement it in software (using the car’s existing speakers) as a paid upgrade.
Well, they recently upgraded the airbag system to include data from the cameras to optimize air bag deployment. Over the air, for free. If they chose to do this I’m quite confident it would be free.
Epic idea either way. I wonder if other automakers haven’t implemented it because it’d need super close integration between the safety system and infotainment gubbins? Most automakers are just bolting tier 2/3 sourced parts into their vehicles for things like safety etc.
The connection between a vehicle’s stereo system and airbag controller I would imagine violates the separation of critical systems. Given how many automotive infotainment heads are Internet-connected, I wonder how long it will be until airbags start going off spontaneously in Mercedes-Benz vehicles…
Overall, I have nothing to argue against the concept, only that it opts to integrate with a vehicle’s questionably safe/secure entertainment system rather than with its own dedicated hardware.
You leave out the control chain of events. The sound itself is not mandatory and is only made by the speakers, so the crash detection system can first trigger the sound and then the airbags. Just a simple optional signal.
There’s no in car infotainment system I’ve seen that I’d trust to work in ten milliseconds, they’ve probably added a module to the audio output chain that bypasses the rest of the infotainment system.
If they were using the stupid eviro-infotainment system in my car I’d hear the pink noise five seconds after the crash: BANG, “Ow!”, HISS.
Expect a 100% tariff on German-made pink noise to be announced any day now.
Could substitute in domestically made purple noise. Costs 50% more given it’s made of red, white annnd blue. But still, jobs or something.
for the US market they might substitute the metric pink noise with imperial orange noise from local sources
(warning: this comment may contain traces of humor)
You’re German!
Humor is funny.
‘Funny’ is the thing where people stop scowling and their face appears to break.
Some German children do it, until trained.
Huh. Here I was thinking it was a well written article with a helpful amount of background material and setup for the problem, followed by an interesting and well explained solution. I guess it just goes to show they write these articles for different folks.
Wait, was that too long of a reply for you? Oops, sorry.
+1
+another1
And another one (notorious BIG voice)
Tl;dr
This is one of those things that shows how bloody impressive modern electronics are – in the time it takes most people to think “oh shit”, the car works out it’s crashing and not only fires a series of explosions in airbags and seatbelt mechanisms but also has enough time to play a little noise through the sound system so it doesn’t hurt your ears while the car is saving your life.
Likely it’s also turning on the hazard lights / flashing the brake lights, cutting the fuel supply, and phoning the emergency services while it’s busy crashing too.
People love to grumble about modern cars but I’d far rather crash a modern car than anything 30+ years old. People are walking away from accidents that in the old days they’d have just been hosing you out of the wreckage.
Ok but did anyone else pick up on the whole, the car can preemptively raise your seats and tighten your seat belt? I’m not too comfortable with the idea of the thing designed to withstand car crashes being able to go boa constrictor on me.
If you put the seat further back. Tighten down the straps and then push the seat full forward I wonder if you could take someone out with this tech. Fat people have no chance. Hey maybe I can give a defcon talk if I can weaponize it. (Or sell it to Israel for gobs of cash the devil on my shoulder says)
Pre-tensioners are nothing new. My 24 year old Civic has them. It basically yanks on the seatbelt so the occupant is sitting upright.
‘All writers need an editor’ is a truism.
This writer is no exception.
First para:
Original:
‘Airbags are an incredibly important piece of automotive safety gear. They’re also terrifying—given that they’re effectively small pyrotechnic devices that are aimed directly at your face and chest. Myths have pervaded that they “kill more people than they save,” in part due a hilarious episode of The Simpsons. Despite this, they’re credited with saving tens of thousands of lives over the years by cushioning fleshy human bodies from heavy impacts and harsh decelerations.’
Useless and redundant words removed:
‘Airbags are an important piece of safety gear. They’re also terrifying—effectively small pyrotechnic devices that are aimed at your face and chest. Myths say they “kill more people than they save,” in part due an episode of The Simpsons. They are credited with saving tens of thousands of lives.’
I think the writer had minimum word assignments in school and has never unlearned adding words.
I are an engineer, if I can learn to edit myself for brevity so can Lewin.
All I did up there was remove the extra words that were just taking up space.
This isn’t rocket science, HS English teachers can do it.
Wouldn’t it be easier to tailor the characteristics of the airbag explosion? Impact detection triggers a bang to shut down the ears and slowly start expanding the bag, then 5 ms later the bag starts expanding more rapidly.
considering the sound levels are 8 orders of magnitude apart I’d assume the consistent and reliable handling of a “sound” charge in the same package is more challenging than just including a speaker or a “line out” to the sound system (or directly to the cars speakers, avoiding interaction with the entertainment parts of the car)
It’s just like the red-eye pre-flash for a camera. Do a brief, lower-intensity flash, wait for pupils to contract and then the main flash and the picture.
Unfortunately, some folks tend to blink with the pre-flash.
I had an opportunity to test drive a Merc with said features on a track more than a year ago. To clarify how the system works:
1. The airbag deployment is not delayed, it’s still individual critical system, the sound doesn’t interfere with it in any means, it’s just an extra feature.
2. The sound is played as soon as the car detects a condition that could potentially lead to a crash, in my case it was heavy braking on wet surface, car started sliding. No crash occurred but the sound system got triggered.
3. Together with that, the passenger’s seat got automatically lowered down and reclined, again to better prepare them for impact
4. Yes, the belt tensioners also kicked in too but that’s nothing new really.
Why not just use noise canceling tech? Microphones in the car pick up all noise (including road noise) and play back phase inverted sound? In case you’re wondering about latency, put the noise canceling speaker in the headrest but the microphone in the airbag
Noise cancelling in free space is incredibly difficult under ideal conditions (an ear movement of a few cm means you’re increasing the volume not decreasing it. Cancelling a noise > 100Db in free space while the target is being shaken around with multiple G of acceleration? Not going to happen
What so sick is that out of all this purported talk about pursuing normal hearing restoration
https://hms.harvard.edu/news/scientists-regenerate-hair-cells-enable-hearing
https://audiontherapeutics.com/
https://chen-lab.meei.harvard.edu/lab-members/
https://www.youtube.com/watch?v=lJr86MUYJ8M&t=2308s
https://www.uc.edu/news/articles/2024/08/uc-researcher-studies-new-technology-that-could-help-drugs-travel-to-inner-ear-to-treat-hearing-loss.html
https://www.youtube.com/watch?v=TU2Nxdkp9VQ&t=7s
https://med.stanford.edu/hearinglosscure.html
https://www.youtube.com/watch?v=cBbow3KZ3AI
https://medicine.umich.edu/dept/kresge-hearing-research-institute
https://www.urmc.rochester.edu/labs/white
https://www.boehringer-ingelheim-venture.com/investments-regenerative-medicine
that this is currently the only meaningful step towards it.
https://www.rinri-therapeutics.com/our-clinical-research/#rincell
It’s incredible to think how airbags walk that fine line between being a lifesaver and a risk, and the fact that Mercedes engineers found a way to hack the human body itself to mitigate hearing damage is just a brilliant piece of thoughtful engineering.
Nice article :)